Turvaline kinnitus Kuusnurkse poldi pakend on loodud selleks, et hoida need korras ja vältida kahjustusi. Need pakkekarbid on varustatud pehme voodriga, millel on paigaldatud pilud. Poldid asetsevad neis vastamisi, nii et iga kuuskantpolt jääb paigale. See muudab need kiireks korjamiseks ja paigutamiseks ning hoiab ära transpordil tekkivad kriimustused. Puisteveoks pakitakse kuuskantpoldid sageli 500 tükki koti kohta. Need kotid asetatakse seejärel sisemistesse kastidesse ja tugevdatud puidust karpidesse, et hoida koorem stabiilsena. Kriitiliste tööstusharude jaoks võivad kõrgetasemelised pakkimisvalikud vastata rangetele sõjalistele standarditele. See võib hõlmata suletud, rasva- ja veekindlaid kotte, mis kaitsevad polte ladustamise ja saatmise ajal korrosiooni eest.
Kuuskantpoldi klass näitab selle tugevust. Need markeeringud on hõlpsaks tuvastamiseks poldipeadel. Levinud ISO klassid on 4,6, 8,8, 10,9 ja 12,9. Hinne 8,8 on tavaline keskmise tugevusega polt, samas kui 10,9 ja 12,9 on kõrge tugevusega ning neid kasutatakse nõudlikes valdkondades, nagu autod ja ehitus. ASTM-i standardid, nagu A307 ja A325, määravad ka poltide jõudluse. Kindla kinnitusega kuuskantpoldi valimine on ohutuse seisukohalt võtmetähtsusega, kuna see tagab, et polt talub koormust veatult.
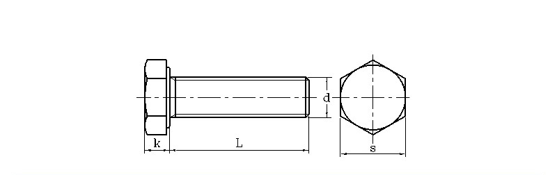
| mm | |||||||
| d | S | k | d | Niit | |||
| max | min | max | min | max | min | ||
| M3 | 5.32 | 5.5 | 1.87 | 2.12 | 2.87 | 2.98 | 0.5 |
| M4 | 6.78 | 7 | 2.67 | 2.92 | 3.83 | 3.98 | 0.7 |
| M5 | 7.78 | 8 | 3.35 | 3.65 | 4.82 | 4.97 | 0.8 |
| M6 | 9.78 | 10 | 3.85 | 4.14 | 5.79 | 5.97 | 1 |
| M8 | 12.73 | 13 | 5.15 | 5.45 | 7.76 | 7.97 | 1.25 |
| M10 | 15.73 | 16 | 6.22 | 6.58 | 9.73 | 9.96 | 1.5 |
| M12 | 17.73 | 18 | 7.32 | 7.68 | 11.7 | 11.96 | 1.75 |
| M14 | 20.67 | 21 | 8.62 | 8.98 | 13.68 | 13.96 | 2 |
| M16 | 23.67 | 24 | 9.82 | 10.18 | 15.68 | 15.96 | 2 |
| M18 | 26.67 | 27 | 11.28 | 11.7 | 17.62 | 17.95 | 2.5 |
| M20 | 29.67 | 30 | 12.28 | 12.71 | 19.62 | 19.95 | 2.5 |
Kas saate selgitada oma turvalise kinnitusega kuuskantpoltide materjali koostist ja korrosioonikaitse võimalusi?
Toodame oma kuuskantpolte erinevatest materjalidest, nagu madala süsinikusisaldusega teras, tugevam legeerteras ja roostevaba teras (A2-304 ja A4-316). Roostevastaseks kaitseks pakume selliseid katteid nagu elektrotsingitud tsink, kuumtsinkimine ja Dacromet. Õige katte valimisel on oluline, kui kaua polt vastu peab, eriti rasketes kohtades, nagu ehitusplatsid või mere lähedal.
